場效應管
場效應管一般的晶體管是由兩種極性的載流子,即多數載流子和反極性的少數載流子參與導電,因此稱為雙極型晶體管,而FET僅是由多數載流子參與導電,它與雙極型相反,也稱為單極型晶體管。
它屬于電壓控制型半導體器件,具有輸入電阻高(108~109Ω)、噪聲小、功耗低、動態范圍大、易于集成、沒有二次擊穿現象、安全工作區域寬等優點,現已成為雙極型晶體管和功率晶體管的強大競爭者。
場效應管的結構原理解析
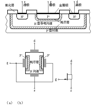
在兩個高摻雜的P區中間,夾著一層低摻雜的N區(N區一般做得很薄),形成了兩個PN結。在N區的兩端各做一個歐姆接觸電極,在兩個P區上也做上歐姆電極,并把這兩P區連起來,就構成了一個場效應管。如圖所示:

N型導電溝道結型場效應管的電路符號
將兩個P區的引出線連在一起作為一個電極,稱為柵極(g),在N型硅片兩端各引出一個電極,分別稱為源極(s)和漏極(d),很薄的N區稱為導電溝道。共漏極放大電路——源極輸出器

共漏極放大電路也具有電壓放大倍數小于1,但接近1;輸出電壓與輸入電壓同相;輸入電阻高,輸出電阻低的特點。
什么是漏極
將兩個P區的引出線連在一起作為一個電極,稱為柵極,在N型硅片兩端各引出一個電極,分別稱為源極和漏極,很薄的N區稱為導電溝道。共漏極放大電路——源極輸出器。柵極簡稱為G,源極簡稱為S,漏極簡稱為D。
開漏形式電路的特點
1.利用外部電路的驅動能力,減少IC內部的驅動,?或驅動比芯片電源電壓高的負載。
2.可以將多個開漏輸出的Pin,連接到一條線上。通過一只上拉電阻,在不增加任何器件的情況下,形成“與邏輯”關系。這也是I2C,SMBus等總線判斷總線占用狀態的原理。
3.由于漏級開路,所以后級電路必須接一上拉電阻,上拉電阻的電源電壓就可以決定輸出電平。這樣就可以進行任意電平的轉換了。
4.源極開路提供了靈活的輸出方式,但是也有其弱點,就是帶來上升沿的延時。因為上升沿是通過外接上拉無源電阻對負載充電,所以當電阻選擇小時延時就小,但功耗大;反之延時大功耗小。所以如果對延時有要求,則建議用下降沿輸出。
烜芯微專業制造二極管,三極管,MOS管,橋堆等20年,工廠直銷省20%,4000家電路電器生產企業選用,專業的工程師幫您穩定好每一批產品,如果您有遇到什么需要幫助解決的,可以點擊右邊的工程師,或者點擊銷售經理給您精準的報價以及產品介紹
烜芯微專業制造二極管,三極管,MOS管,橋堆等20年,工廠直銷省20%,4000家電路電器生產企業選用,專業的工程師幫您穩定好每一批產品,如果您有遇到什么需要幫助解決的,可以點擊右邊的工程師,或者點擊銷售經理給您精準的報價以及產品介紹

